Recently, ANTISHCNCI team received an inquiry from a drill manufacturer from Spain, the customer needs to process and grind step drills, which are characterized by versatility, high efficiency, wide applicability and good stability. We all know that a good drill is not possible without a good grinding machine, and the ANTISHICNC tool grinder is such a machine!
Our CNC tool grinder C818 Vision has an X-axis with a stroke of 800 mm, a Y-axis of 550 mm, a Z-axis of 320 mm, and an AB-axis with a maximum torque of 96 Nm and 600 Nm, which makes it possible to process the most common tools on the market to a large extent. production.
We recommended this machine to this customer, and through online and offline communication, the ANTISHICNC team gave the customer the maximum support, and through continuous communication, the customer was sure that the C818 Vision could meet their needs for producing step drills, and the customer confirmed that they would like to continue to work with us because of the positive feedback they received from our team and the machine.
| C818 Vision 5 axis CNC tool grinder | |
![]() |
|
![]() |
![]() |
| C818 Vision grinding simulation diagram | |
![]() |
![]() |
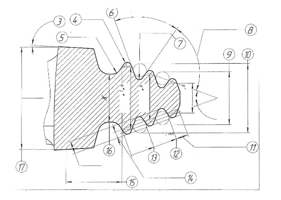
| Customer Step Drill Drawing |
![]() |
ANTISHICNC company as a machine tool supplier with many years of experience, we can provide you with the right machine. If you need to machine step drills, please let us know your machining needs, and our sales team will reply as soon as possible and match you with the right model.
If you have the same need for step drill grinding, please refer to our website:
https://www.antsmachine.com/c818-precision-tools-5-axis-5-linkage-cnc-tool-grinder.html








